Thursday April 2026

হটলাইন

কনটেন্টটি শেষ হাল-নাগাদ করা হয়েছে: শুক্রবার, ২১ জুলাই, ২০১৭ এ ০৮:৪৮ PM

কী সেবা কীভাবে পাবেন

কন্টেন্ট: পাতা

সেবাসমূহ

১। ঋণ প্রদান

২। প্রশিক্ষণ প্রদান

৩। ঋণ অনুমোদন

৪। মুলধন সৃষ্টি

৫। কৃষি উপকরণ সরবরাহ

৬।সেচ যন্ত্র বিতরণ

৭। আত্ম-কর্মসংস্থান সৃষ্টি

৮। অবসরভাতা প্রদান

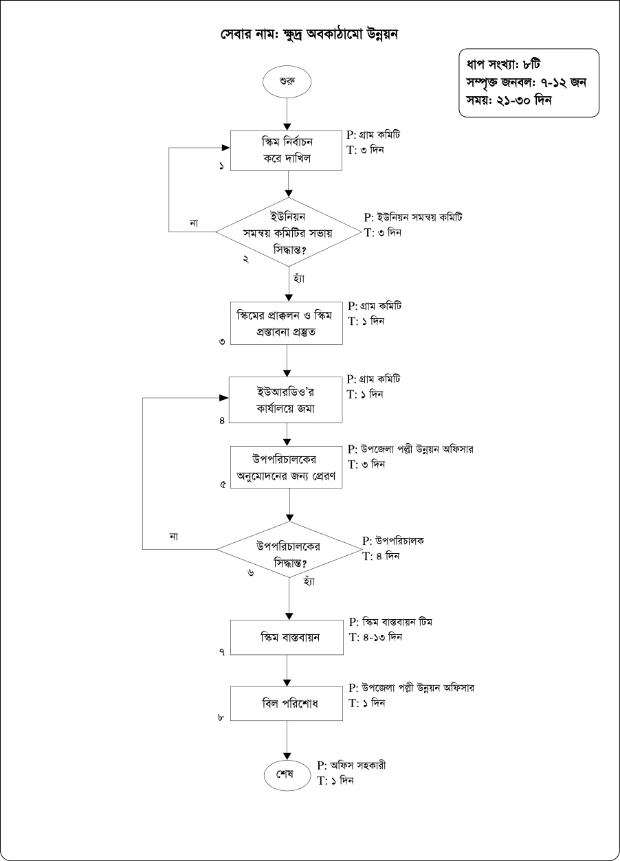
৯। ক্ষুদ্র অবকাঠামো উন্নয়ন

ঋণ বিতরণ
ক্ষুদ্র অবকাঠামো উন্...

এক্সেসিবিলিটি

স্ক্রিন রিডার ডাউনলোড করুন